
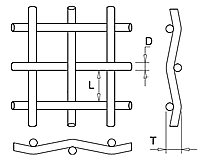
Mesh: 10X10mesh
Wire Dia: 0.35-0.50mm
Aperture: 2.0-2.1mm
Material: pure copper wire
Weave Type: plain weave
Roll Width: 0.914m, 1.0m, 1.22m
Roll Length: 30m
Application: Gutter guard mesh,Attic ventilation screen,Decorative
10 mesh plain weave red copper wire mesh
Standard
GB/T 5330.1-2000, GB/T 19628.2-2005
Anping Web Wire Mesh Co.,LTD Plain Weave Process and Technical Parameter
Brief description of 10 mesh red copper wire mesh
10 mesh plain weave red copper wire mesh including 10 wires and openings of 1 inch Using 0.35-0.50mm diameter wire, by plain weaving, woven 10 mesh opening for 2.0-2.1mm solid particles , it can also be used as a liquid, gas coarse filter support material or protective fabrics to use. This wire diameter and mesh with ratio reasonable, therefore weave structure is very strong. After 13 whole weaving process, so that the mesh surface flatness better.
Material
C10200, C11000
10 mesh red copper wire mesh technical parameter


roll width: 0.914m, 1.0m, 1.22m
roll length: 30m
10 mesh red copper wire mesh application
Gutter guard mesh
Attic ventilation screen
Decorative
10 mesh plain weave red copper wire mesh packing
copper wire mesh is packed in rolls,winding on a paper tube,wrapped in moisture-proof paper or plastic film,
outside wooden cases or wooden pallet.
Support:NINEWIN INTERACTION